不锈钢玻璃转子流量计http://www.china-suke.com/product-ll61.html
SK-LZB()B/LZJ系列不锈钢玻璃转子流量计广泛应用于化工、石油、轻工、医药、环保、食品及计量测试、科学研究等部门,测量单相非脉动流体(液体或气体)的流量。
SK-LZB/( )F/LZJ-( )F系列耐腐型玻璃转子流量计有较强的耐腐性能,可检测酸(氢氟酸除外)、碱、氧化剂和其它腐蚀性的气体或液体的流量,适用于化工、制药、造纸、污水处理等行业。
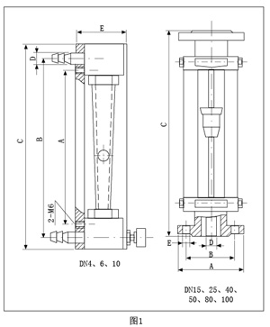
| 外形及安装尺寸 | |
|
|
原理与结构 |
|
![]() | SK-LZB/LZB-( )F流量计的锥管为光滑内壁管(见图4),通径DN15以上的流量计,浮子通过导杆 上下移动,保持稳定;SK-LZJ/LZJ-( )F流量计锥管 内壁有三条导向凸筋,使浮子保持稳定(见图4)。通径DN10以下的流量计采用软管连接,配有 针形流量调节阀;通径DN15以上流量计采用法兰连接。 |






